Siemens

SIEMENS METAL KOMPLE YAY DÖNÜŞLÜ BUTONLAR KIRMIZI SIRIUS ACT 4011209958418

Ürün Kodu : SIE-3SU1150-0AB20-1CA0
%62 İskonto
1.024,80 TL
389,42 TL
635,38 TL
KDV Dahildir.
9ayavaran1.png (11 KB)
güvenli1a.png (10 KB)
Kampanya
  • Ürün Özellikleri
  • Ödeme Seçenekleri
  • İade ve Teslimat
  • Yorumlar (0)
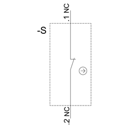
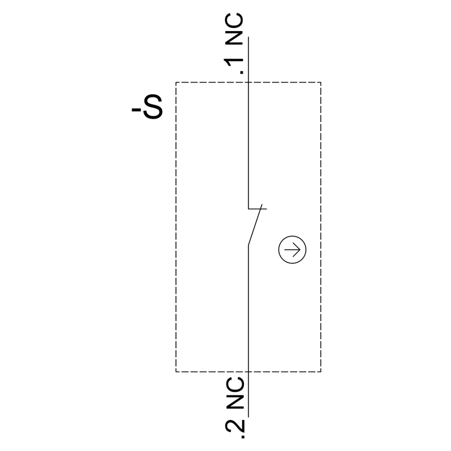
  • SIEMENS 3SU1150-0AB20-1CA0 KIRMIZI METAL BASMALI BUTON 22 MM PARLAK YÜZEY YASSI TİP 1NC VİDA TİPİ KLEMENS

    Siemens 3SU1150-0AB20-1CA0, 22 mm, yuvarlak, yüksek parlaklığa sahip metal gövdeli, kırmızı renkli, yassı tip basmalı bir butondur ve 1NC kontağı ile güvenilir bir kesme/kapatma kontrolü sunar. SIRIUS ACT serisine ait olan bu dayanıklı buton, endüstriyel kontrol uygulamalarında uzun ömürlü, stabil ve güvenli performans sağlar.

    Siemens’in yenilikçi geçme montaj tasarımı sayesinde ürün, herhangi bir özel araca ihtiyaç olmadan tek elle hızlı ve sağlam şekilde kurulabilir. Entegre bükülme koruması sayesinde yivsiz delikler dahi kolayca monte etmeye olanak tanır. Yüksek koruma sınıfı, butonun toz, yağ, nem ve agresif maddelere karşı dayanıklı olmasını sağlar. Bu özellik, cihazı hem iç hem de dış mekân endüstriyel uygulamalar için ideal hâle getirir.

    SIRIUS ACT butonları, yüksek basınçlı su ile temizlenebilir özelliktedir ve zorlu çevre koşullarında performans kaybı yaşamaz. Standart bağlantı seçeneklerinin yanı sıra PROFINET, AS-Interface veya IO-Link üzerinden kontrol panellerine bağlanabilme avantajı ile kablolama yükünü azaltırken sistemdeki hata olasılıklarını minimuma indirir.

    Siemens’in çevrimiçi yapılandırıcısı, cihaz seçimi ve sipariş sürecini kolaylaştırırken kapsamlı dokümantasyon desteği (el kitabı, bağlantı şemaları, 3D veriler) kullanıcı deneyimini güçlendirir. Aydınlatmalı/aydınlatmasız, etiketli/etiketsiz, kilitlemeli veya dokunmalı çalıştırma gibi geniş varyasyon seçenekleriyle SIRIUS ACT serisi, modern otomasyon sistemleri için güçlü, güvenilir ve kolay monte edilebilir çözümler sunar.

    Marka Siemens
    Tedarikçi No 3SU1150-0AB20-1CA0
    Açıklama Pushbutton, 22 mm, round, metal, shiny, red, pushbutton, flat, momentary contact type, with holder, 1 NC, screw terminal
    GTIN 4011209958418
    Ağırlık 0.093
    Derinlik 0.03
    En 0.05
    Uzunluk 0.1

  • İade Kabulu: İade edilen ürünlerin kutusu ambalajı zarar görmemiş, yeniden satılabilir kullanılabilir ve satışa hazır olması halinde iadeler kabul edilir.

    İade Reddi: Ürünün kutusu ambalajı açılmış ve montajı yapılmış ürünlerin iadesi kesinlikle kabul edilmemektedir.

    Teslimat: 15:00' a kadar yapılan siparişler aynı gün kargoya teslim edilir.
T-Soft E-Ticaret Sistemleriyle Hazırlanmıştır.